Опубликовано 21 апреля 2024, 06:45
1 мин.

Компания Ford запатентовала механизм раскладного стола в приборной панели

Запатентованы три варианта
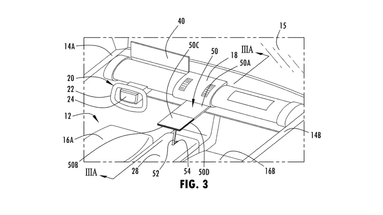
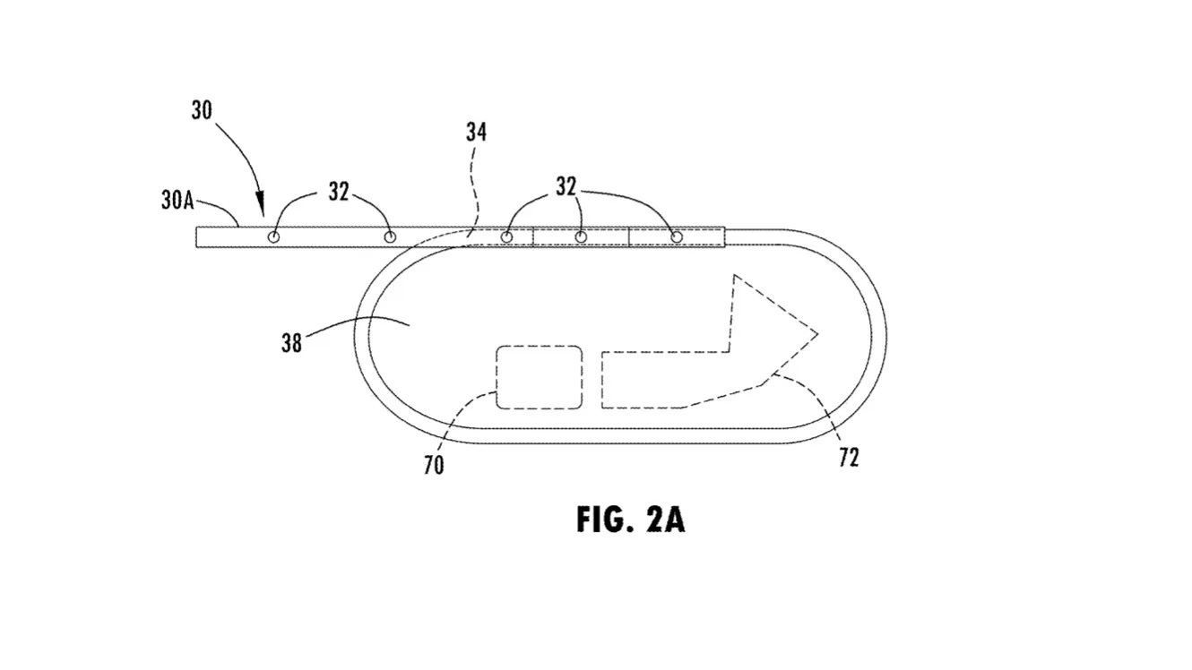
Компания Ford ещё в июле 2022 года запатентовала концепцию складных столов-панелей, выдвигающихся из приборной панели. Патент предполагает три варианта: столы, встраиваемые в левую, правую или центральную часть приборной панели.
Компания Ford запатентовала механизм раскладного стола в приборной панели

Но официально Бюро патентов и торговых марок США (USPTO) опубликовало патент Ford только 19 марта. В заявке идёт речь о панелях и направляющих стола, которые должны соответствовать форме приборной панели для облегчения работы дизайнеров. При производстве не придётся делать выштамповки исключительно из прямых углов.

Представлен и вариант складного руля, а стол при этом займёт место прямо перед панелью приборов. В патенте также показан вариант стола, выдвигающегося из центральной консоли, с ножкой для поддержания устойчивости. Стол также может быть развёрнут со стороны пассажира, возможно, со вторым раскладным элементом для области вокруг центральной консоли и создания формы с большим рабочим пространством для переднего пассажира.

Когда начнётся интеграция таких конструкций в приборную панель автомобилей Ford и какой вариант является предпочтительным, не уточняется.