Опубликовано 04 августа 2025, 06:45
1 мин.

Apple запатентовала гибкий экран для Mac, который сам подстраивается под взгляд

Вы смотрите на него неправильно
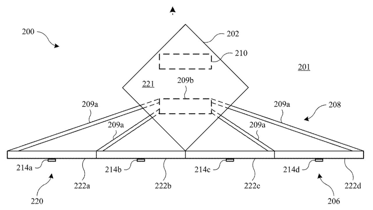
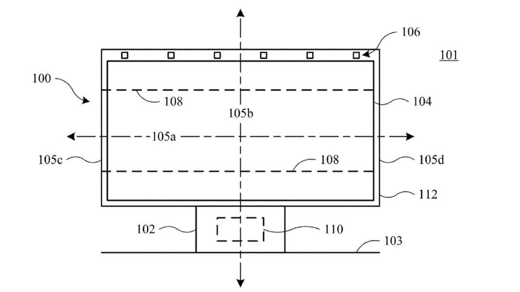
Apple подала патент на новый тип экрана, который может сгибаться и автоматически менять форму в зависимости от положения пользователя. Судя по иллюстрациям, технология предназначена для iMac, но может быть использована и в других устройствах.
Apple запатентовала гибкий экран для Mac, который сам подстраивается под взгляд

© Ferra.ru

Идея в том, что экран сможет менять форму — например, сгибаться или становиться более плоским — чтобы обеспечить лучший угол обзора. В устройстве предполагается использование датчиков, которые определяют, где находится пользователь, и процессоров, которые регулируют форму экрана под нужды человека.

Например, если пользователь работает за компьютером, экран может быть изогнутым для удобства. А если человек отходит, экран может становиться плоским.

Также говорится, что экран может складываться для хранения, но даже в «компактном режиме» он продолжает работать и отображать изображение. Возможны и другие сценарии — например, экран меняет форму при запуске разных приложений.

Пока это лишь патент, и не факт, что технология появится в ближайших продуктах. Если вообще появится.